Product Summary
The DP83848IVV is a robust fully featured 10/100 single port Physical Layer device offering low power consumption, including several intelligent power down states. These low power modes increase overall product reliability due to decreased power dissipation. Supporting multiple intelligent power modes allows the application to use the absolute minimum amount of power needed for operation. In addition to low power, it is optimized for cable length performance far exceeding IEEE specifications.
Parametrics
Absolute maximum ratings: (1)Supply Voltage (VCC): -0.5 V to 4.2 V; (2)DC Input Voltage (VIN): -0.5V to VCC + 0.5V; (3)DC Output Voltage (VOUT): -0.5V to VCC + 0.5V; (4)Storage Temperature (TSTG): -65oC to 150℃; (5)Max case temp for TA = 85℃: 107 ℃; (6)Max. die temperature (Tj): 150 ℃; (7)Lead Temp. (TL) (Soldering, 10 sec.): 260 ℃; (8)ESD Rating (RZAP = 1.5k, CZAP = 100 pF): 4.0 kV.
Features
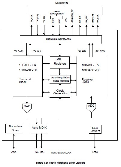
Features: (1)Low-power 3.3V, 0.18μm CMOS technology; (2)Low power consumption < 270mW Typical 3.3V MAC Interface; (3)Auto-MDIX for 10/100 Mb/s; (4)Energy Detection Mode; (5)25 MHz clock out; (6)SNI Interface (configurable); (7)RMII Rev. 1.2 Interface (configurable); (8)MII Serial Management Interface (MDC and MDIO); (9)IEEE 802.3u MII; (10)IEEE 802.3u Auto-Negotiation and Parallel Detection; (11)IEEE 802.3u ENDEC, 10BASE-T transceivers and filters; (12)IEEE 802.3u PCS, 100BASE-TX transceivers and filters; (13)IEEE 1149.1 JTAG; (14)Integrated ANSI X3.263 compliant TP-PMD physical sublayer with adaptive equalization and Baseline Wander compensation; (15)Error-free Operation up to 150 meters; (16)Programmable LED support Link, 10 /100 Mb/s Mode, Activity, and Collision Detect; (17)Single register access for complete PHY status; (18)10/100 Mb/s packet BIST (Built in Self Test); (19)48-pin LQFP package (7mm) x (7mm).
Diagrams

| Image | Part No | Mfg | Description | ![]() |
Pricing (USD) |
Quantity | ||||||||||||
|---|---|---|---|---|---|---|---|---|---|---|---|---|---|---|---|---|---|---|
![]() |
![]() DP83848IVV/NOPB |
![]() National Semiconductor (TI) |
![]() Ethernet ICs PHYTER COMMERCIAL TEMP SGL PORT |
![]() Data Sheet |
![]()
|
|
||||||||||||
![]() |
![]() DP83848IVVX/NOPB |
![]() National Semiconductor (TI) |
![]() Ethernet ICs |
![]() Data Sheet |
![]()
|
|
||||||||||||
(China (Mainland))







